超聲波打棗機振子焊頭組圖示
發布者:益百機械 發布時間:2021/7/13 16:47:53
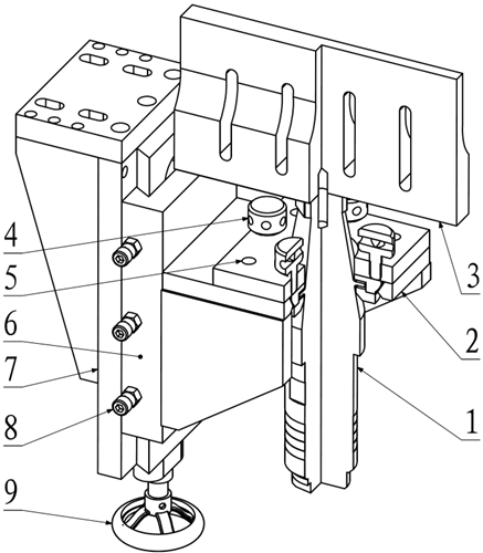
超聲波打棗機振子焊頭組圖示:
1.超聲波振子:將電能轉換為機械能。
2. 振子固定法蘭:安裝固定振子,有絕
緣膠墊隔開防止共振。
3. 超聲波焊頭:傳輸超聲波發射的能量,
達到切割工作物之目的。
4. 水平調節螺絲:調節此螺絲實現焊頭
水平調整。
5. 振子法蘭板鎖緊螺絲:拆缷振子上法
蘭板鎖緊螺絲,再拆卸下法蘭板才能
拆下振子。
6. 燕尾槽拖板滑塊:燕尾槽拖板的滑動
件,調校振子焊頭組升降。
7. 燕尾槽拖板固定板:燕尾槽拖板的固
定件,振子焊頭組安裝固定座。
8. 燕尾槽拖板頂緊螺絲:調整好焊頭高
度,把滑塊鎖緊。
9. 手輪:旋轉手輪調動滑塊升降。
文章由:超聲波打棗機 http://m.hongtengkeji.cc/ 佛山市益百機械制造有限公司
相關新聞
- [2021.05.20]益百超聲波打棗機安裝說明
- [2021.03.02]超聲波焊切機之切帶機功能及規格
- [2021.03.26]金屬與塑料超聲波焊接機原理對比
- [2021.03.10]超聲波焊切機模具的檢查
- [2021.05.19]超聲波切帶機故障維修
- [2021.03.11]超聲波花邊機搬運須知
- [2021.01.25]超聲波焊切機對塑料材料的要求
- [2021.05.19]超音波清洗機清洗原理
- [2021.03.11]超聲波花邊機花輪裝卸
- [2021.05.18]部分塑膠超聲波焊接性能表
- [2021.05.18]超聲波換能器結構及特性
- [2021.03.01]超聲波花邊機BHU-20A操作流程
- [2021.03.10]超聲波花邊機氣缸(焊頭)壓力控制
- [2021.05.17]超聲波塑焊機的原理
- [2021.01.21]超聲波花邊機的適用產品及應用材料
- [2021.05.17]超聲波焊接機塑膠件對結構有哪些要求
- [2021.03.01]超聲波花邊機焊頭使用注意事項
- [2021.03.10]超聲波花邊機焊頭檢查
- [2021.05.14]壓電陶瓷式超聲波換能器的特點
- [2021.05.14]超聲波沖花機常見故障問題






