超聲波3D花邊機花輪的裝拆
發布者:益百機械 發布時間:2021/3/29 15:50:03
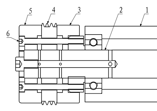
超聲波3D花邊機花輪的裝拆:
1.傳動軸2安裝在懸臂1上。
2.拆卸花輪時,先把螺絲6松開,再把花輪外壓輪5拉出,又把花輪4拉出,花輪內壓輪3可以不用拉出。
3.安裝花輪時,先把花輪4裝入傳動軸2,再把花輪外壓輪5裝入傳動軸2,最后把螺絲6鎖緊。
文章由:超聲波花邊機 http://m.hongtengkeji.cc/ 佛山市益百機械制造有限公司
相關新聞
- [2021.03.04]手持式超聲波焊接機結構
- [2021.05.09]什么是超聲波塑料焊接?
- [2021.01.27]佛山超聲波焊切機廠家有哪些?
- [2021.05.08]大功率超聲波切布機BHP-20D結構圖
- [2020.09.12]超聲波花邊機工作原理
- [2021.01.21]超聲波花邊機操作程序
- [2021.01.23]超聲波花邊機花輪模具硬度問題
- [2021.03.03]超聲波蕾絲花邊機
- [2021.05.08]超聲波焊接不同塑膠材料匹配性能表
- [2021.05.07]超聲波打棗機功能及應用
- [2021.03.03]超聲波花邊機(35K徑向)
- [2021.05.07]超聲波切帶機使用說明書
- [2021.01.27]影響超聲波焊切機熔接效果的因素
- [2021.05.06]常用超聲波焊頭材料有哪些
- [2021.01.23]超聲波花邊機的設計圖紙
- [2021.03.03]超聲波花邊機(3D)
- [2021.05.06]超聲波花邊機結構
- [2021.04.30]重要!超聲波模具調試工作
- [2021.03.02]超聲波焊切機之切帶機搬運須知
- [2021.04.30]使用超聲波塑料焊接機的過程中容易忽略的秘…






